| Сountry of origin | Germany |
|---|---|
| Brand | THIELE |
| Loading direction | Full WLL in any load direction |
| Purpose | Fit most lifting and lashing applications |
| Safety factor | 4:1 |
| Finish | RAL 5002 |
| Testing | 100% magnetic crack tested |
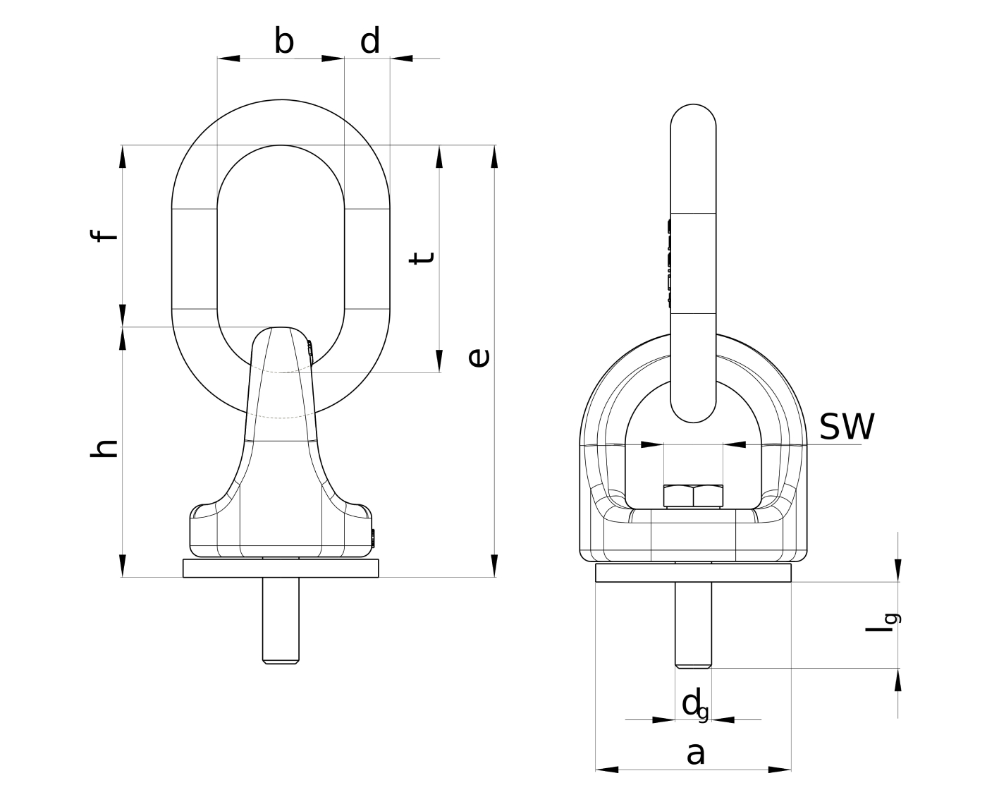
The screw-type X-TITAN lifting points TWN 1120 are predominantly used for the transportation of moulds, tools, dies, machine elements and steel constructions. The intermediate links allow an easy assembling to other lifting components. The manufacturing and testing requirements are based on DIN EN 1677-1.
|
Screw Size d [mm] |
Art.№ |
Working Load Limit [t max.] |
Thread Length G [mm] |
E [mm] |
F [mm] |
B [mm] |
T [mm] |
D [mm] |
H [mm] |
SW [mm] |
A [mm] |
Weight [kg] |
|---|---|---|---|---|---|---|---|---|---|---|---|---|
| М10 | F34390 | 0,45 | 19 | 95 | 40 |
28 |
50 | 10 | 55 | 16 |
43 |
0,41 |
| М12 | F34395 | 0,60 | 24 | 95 | 40 |
28 |
50 | 10 |
55 |
18 |
43 |
0,43 |
| М16 | F34400 | 1,40 | 29 | 95 | 40 |
28 |
50 | 10 |
55 |
24 |
43 |
0,47 |
| М20 | F34410 | 2,50 | 33 | 115 | 49 |
34 |
60 | 12 | 66 | 30 | 54 | 0,79 |
| М24 | F34420 | 3,50 | 40 | 135 | 55 |
40 |
70 | 16 | 80 | 36 | 65 | 1,50 |
| М30 | F34430 | 6,70 | 52 | 167 | 66 | 50 | 85 | 18 | 101 | 46 | 85 | 3,00 |
| М36 | F34440 | 8,00 | 66 | 212 | 92 | 50 | 115 | 22 | 120 | 55 | 96 |
4,80 |